English
Español
Français
Italiano
Facebook
Twitter
Youtube
Eunasa
Log in
Register me
Buscador
Buscador
Filtro
Ordenar
Advanced
search
Exploded view
search
Ordenar resultados
Descripción de producto
A - Z
Z - A
Referencia Eunasa
Ascendente
Descendente
Precio
Del más caro al más barato
Del más barato al más caro
Language EN
Español
Français
Italiano
Exploded views
Downloads
Contact
Your #1 source of spare parts for horeca
Spare parts
Equipment
Accessories
Exploded views
Downloads
Contact
Smart
search
Advanced
search
Exploded view
search
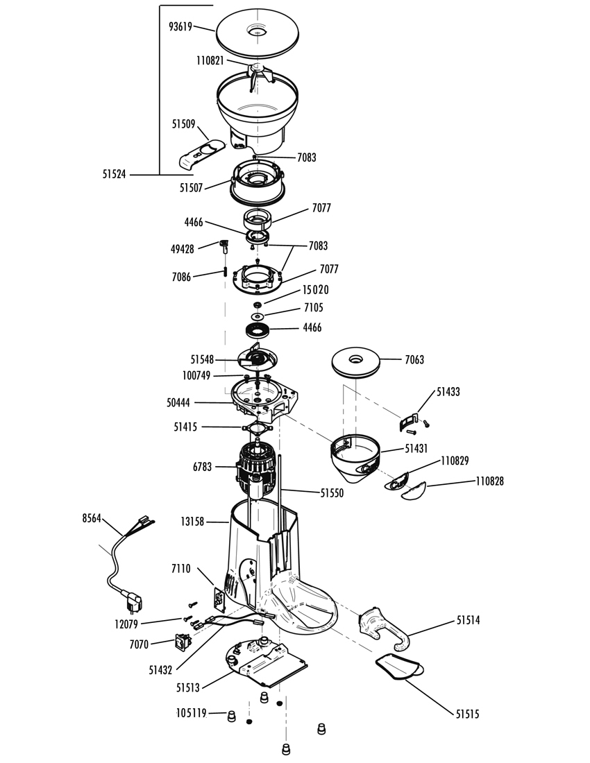
Cunill / TRANQUILO ABS/CROM
Products
3 Holes Left Burrs Ø59x30/34x8.8mm
Ref:
4466
Quantity / Packaging:
1
Quiet Grinder 230V Motor Tranquilo 1&2
Ref:
6783
Quantity / Packaging:
1
Common Doser Lid Coffee Grinder
Ref:
7063
Quantity / Packaging:
1
Switch W/ Red Led 16A 250V 30x22mm
Ref:
7070
Quantity / Packaging:
1
Upper Milling Blades Holder Ø59mm + Support
Ref:
7077
Quantity / Packaging:
1
Adjustment Trigger Spring
Ref:
7086
Quantity / Packaging:
1
Milling Blade Holder Lower Washer
Ref:
7105
Quantity / Packaging:
1
Electronic Plate C.TRANQUILO
Ref:
7110
Quantity / Packaging:
1
3x1mm 2 Meters Plug Wire
Ref:
8564
Quantity / Packaging:
1
Doser Lever Shaft
Ref:
13158
Quantity / Packaging:
1
Bearing Bush Suport FV130.2
Ref:
49728
Quantity / Packaging:
1
Upper Body Grinder TRANQUILO/FULL Metal
Ref:
50444
Quantity / Packaging:
1
Coffee Funnel
Ref:
51431
Quantity / Packaging:
1
Printed Circuit Board Connection Wire
Ref:
51432
Quantity / Packaging:
1
Coffee Grinder Fingers Protector
Ref:
51433
Quantity / Packaging:
1
Adjustment Flat Stock (2008) Classic
Ref:
51507
Quantity / Packaging:
1
Hopper Gate (2008)
Ref:
51509
Quantity / Packaging:
1
Lower Lid Tranquilo Grinder (2008)
Ref:
51513
Quantity / Packaging:
1
Grinder Portafilter Support Tranquilo (2008)
Ref:
51514
Quantity / Packaging:
1
Coffee Grinder Tray Tranquilo (2008)
Ref:
51515
Quantity / Packaging:
1
Coffee Grinder 1/2Kg Complete Hopper
Ref:
51524
Quantity / Packaging:
1
Blade Holder 2006 SPA-COL-BRA-TAU-FM-TRANQ.
Ref:
51548
Quantity / Packaging:
1
M6x255mm Stud TAU-SPA-MAR-TRAN 2
Ref:
51550
Quantity / Packaging:
1
Hopper Lid 2008 Ø215mm
Ref:
93619
Quantity / Packaging:
1
Screw M6x16mm DIN-7380
Ref:
100749
Quantity / Packaging:
1
Hopper Protector 2008
Ref:
110821
Quantity / Packaging:
1
Chrome Custom Doser Label
Ref:
110828
Quantity / Packaging:
1
Chrome Doser Label
Ref:
110829
Quantity / Packaging:
1
message
Yes
No
Close
Send
Price and delivery enquiry