English
Español
Français
Italiano
Facebook
Twitter
Youtube
Eunasa
Log in
Register me
Buscador
Buscador
Filtro
Ordenar
Advanced
search
Exploded view
search
Ordenar resultados
Descripción de producto
A - Z
Z - A
Referencia Eunasa
Ascendente
Descendente
Precio
Del más caro al más barato
Del más barato al más caro
Language EN
Español
Français
Italiano
Exploded views
Downloads
Contact
Your #1 source of spare parts for horeca
Spare parts
Equipment
Accessories
Exploded views
Downloads
Contact
Smart
search
Advanced
search
Exploded view
search
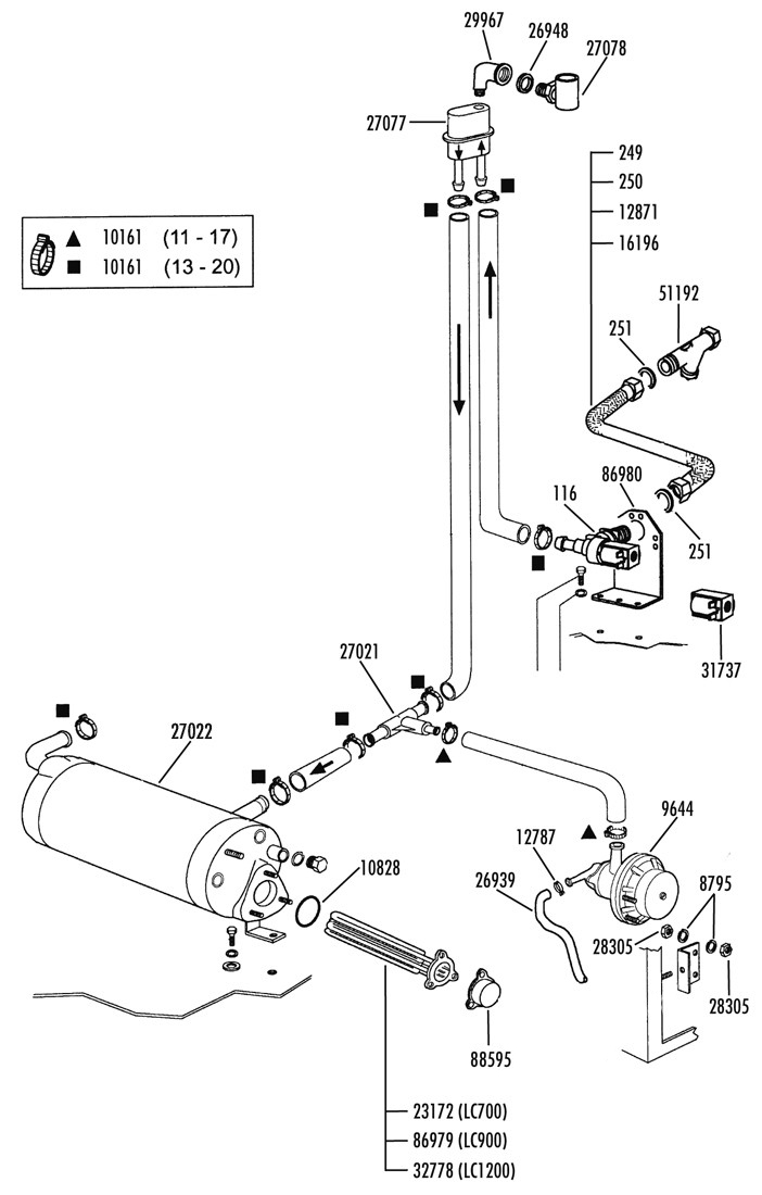
Comenda / LC900
RINSE GROUP
Products
Vertical 1 Way Solenoid Valve 230V 90º
Ref:
116
Quantity / Packaging:
1
Water Inlet Hose 3/4 F 20bar 1.5 Meters
Ref:
249
Quantity / Packaging:
1
Water Inlet Hose 1.5m Pirelli Type 3/4
Ref:
250
Quantity / Packaging:
1
Rinse Aid Dosing Pump
Ref:
9644
Quantity / Packaging:
1
O-RING Gasket Ø56.52x5.34mm Epdm
Ref:
10828
Quantity / Packaging:
1
Rubber Pipe Elastic Clamp Ø8.8x9.3mm
Ref:
12787
Quantity / Packaging:
1
Water Inlet Hose 2m Pirelli Type 3/4"F-F
Ref:
12871
Quantity / Packaging:
1
Water Inlet Hose 2.5 Meters Pirelli Type
Ref:
16196
Quantity / Packaging:
1
Boiler Heating Element 6000W 230/380V L=280mm
Ref:
23172
Quantity / Packaging:
1
Crystal Soap Doser Hose 5x7mm
Ref:
26939
Quantity / Packaging:
1
Tee Fitting Ø11x11x7mm
Ref:
27021
Quantity / Packaging:
1
Dishwasher Boiler Ø155X500mm
Ref:
27022
Quantity / Packaging:
1
NON-RETURN Valve Ø12mm
Ref:
27077
Quantity / Packaging:
1
3 Ways Tee Fitting
Ref:
27078
Quantity / Packaging:
1
Elbowed Sleeve Fitting
Ref:
29967
Quantity / Packaging:
1
Dishwasher Solenoid Valve Coil 230V
Ref:
31737
Quantity / Packaging:
1
Boiler Heating Element 9000W 230/380V 470mm
Ref:
32778
Quantity / Packaging:
1
Dishwasher Water Inlet Filter
Ref:
51192
Quantity / Packaging:
1
Boiler Heating Element 8000W 230V 480mm LC900
Ref:
86979
Quantity / Packaging:
1
Solenoid Valve Square Support
Ref:
86980
Quantity / Packaging:
1
Tank Heating Element Protector
Ref:
88595
Quantity / Packaging:
1
message
Yes
No
Close
Send
Price and delivery enquiry