Buscador de productos predictivo

Buscador de despieces

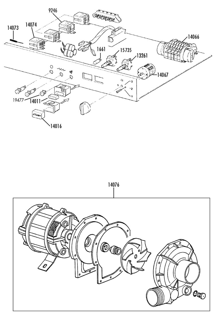
Elettrobar / E-60

MANDOS




Productos

message