Buscador de productos predictivo

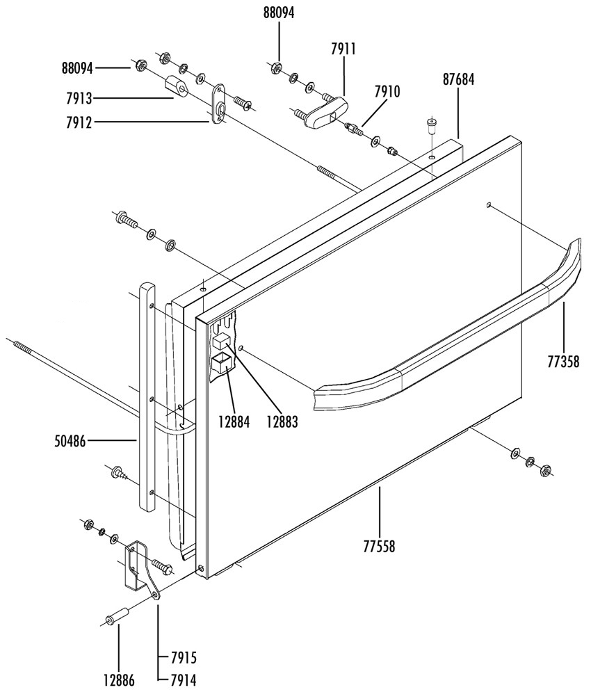
Buscador de despieces

Fagor / FI-48 HY

PUERTA




Productos

message