Español
Français
English
Italiano
Facebook
Twitter
Youtube
Eunasa
Acceder
Registrarme
Buscador
Buscador
Filtro
Ordenar
Buscador
avanzado
Buscador de
despieces
Ordenar resultados
Descripción de producto
A - Z
Z - A
Referencia Eunasa
Ascendente
Descendente
Precio
Del más caro al más barato
Del más barato al más caro
Idioma ES
Français
English
Italiano
Despieces
Descargas
Contacto
Tu proveedor #1 de recambios para hostelería
Recambios
Maquinaria
Accesorios
Despieces
Descargas
Contacto
Buscador de productos
predictivo
Buscador
avanzado
Buscador de
despieces
Mairali /
EQUIPO GAS
Productos
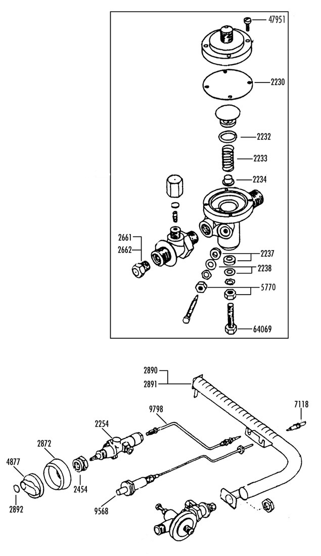
Junta Membrana Butano
Ref:
2230
Cantidad / Embalaje:
1
Junta Torica Gas
Ref:
2232
Cantidad / Embalaje:
1
Grifo Gas 50mBar 5kPa
Ref:
2254
Cantidad / Embalaje:
1
Tuerca Grifo Gas
Ref:
2454
Cantidad / Embalaje:
1
Inyector Gas 0.75mm 2 Grupos
Ref:
2661
Cantidad / Embalaje:
1
Inyector Gas 0.85mm 3 Grupos
Ref:
2662
Cantidad / Embalaje:
1
Embellecedor Mando Gris Ø55mm
Ref:
2872
Cantidad / Embalaje:
1
Quemador 2 Grupos Moderno
Ref:
2890
Cantidad / Embalaje:
1
Quemador 3 Grupos Moderno
Ref:
2891
Cantidad / Embalaje:
1
Mando Carga AGUA/GAS Gris
Ref:
4877
Cantidad / Embalaje:
1
Bujia Encendido Con Rosca M8
Ref:
7118
Cantidad / Embalaje:
1
Encendedor Piezoeléctrico Ø22mm
Ref:
9568
Cantidad / Embalaje:
1
Termopar Cabeza Roscada M8x1 L=450mm
Ref:
9798
Cantidad / Embalaje:
1
Tornillo M6x25mm DIN-933 Inox
Ref:
64069
Cantidad / Embalaje:
1
message
Sí
No
Cerrar
Enviar
Consultar precio y plazo