Français
Español
English
Italiano
Facebook
Twitter
Youtube
Eunasa
Accès
S'inscrire
Buscador
Buscador
Filtro
Ordenar
Recherche
avancé
Chercheur de
vue éclaté
Ordenar resultados
Descripción de producto
A - Z
Z - A
Referencia Eunasa
Ascendente
Descendente
Precio
Del más caro al más barato
Del más barato al más caro
Langue FR
Español
English
Italiano
Vue éclatée
Téléchargements
Contact
Votre #1 fournisseur de pièces détachées pour Horeca
Pièces détachées
Machinerie
Accessoires
Vue éclatée
Téléchargements
Contact
Chercheur de produits
prédictive
Recherche
avancé
Chercheur de
vue éclaté
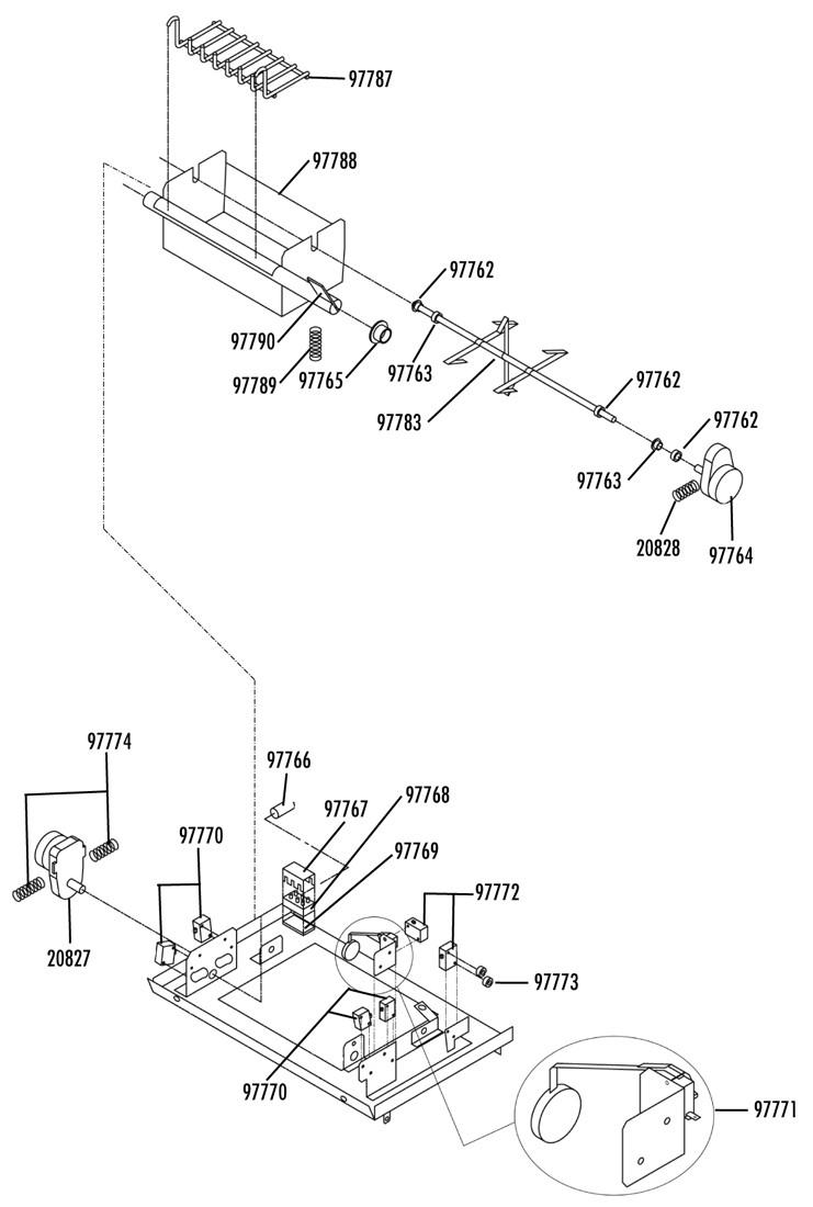
Brema / IF55
- ENSEMBLE ÉVAPEURATEUR
Produits
message
Oui
Non
Fermer
Envoyer
Demande prix et délai de livraison